Vyplývá to z patentů Samsungu podaných v prosinci 2017, na něž upozornil nizozemský portál LetsGoDigital. Poukazují na zajímavé inovace, o jejichž využití společnost uvažuje u některé z nadcházejících generací současných Gear S3.
Opakovaně tak naznačuje, že nad chytrými hodinkami není nutné lámat hůl. V budoucnost chytrého řešení věří i navzdory oblíbenosti klasických hodinek, které oproti těm chytrým mají jednu obrovskou výhodu - není je totiž nutné po pár dnech připojovat k nabíječce.
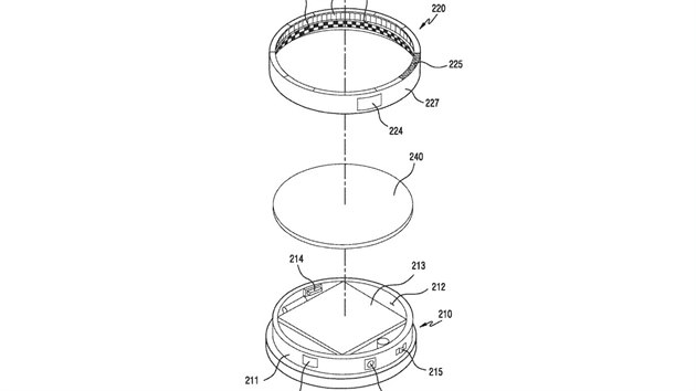
Právě tento problém, tedy nedostatečnou výdrž současných baterií hodlá Samsung v budoucnu vyřešit. Jednou z cest by mohlo být přemístění baterie z těla hodinek do řemínku. V takovém případě by mohla být baterie navíc umístěna v obou jeho částech. Znamená to ovšem, že bude nutné docílit natolik tenkých baterií, aby se do řemínku vtěsnaly.
Předpokladem k nasazení tohoto řešení do praxe bude bezesporu i flexibilita dobíjecích článků, čímž se předejde jejich nechtěnému poškození. Dobrou zprávou pro uživatele je pak i to, že takto umístěná baterie nebude mít zásadní vliv na dostupnost různých typů řemínků. I nadále tak budou moci uživatelé stále vybírat z různých typů řemínků počínaje gumovými přes kožené až po třeba textilní.
Odstranění baterie z těla hodinek by pak otevřelo cestu k jejich dalšímu vylepšení, díky čemuž by se výrazně přiblížily k funkcionalitě smartphonu, na kterém by se staly podstatně nezávislejší. Některé z budoucích generací hodinek Gear by tak mohly být opatřeny například fotoaparátem, snímačem otisků prstů či větším počtem užitečných senzorů včetně například snímačů přiblížení či intenzity okolního osvětlení.
Nové chytré „cibule“ od Samsungu překvapí. Vyzkoušeli jsme Gear S3 |
Samsung si mimo to pohrává i s myšlenkou inovace otočné lunety, kterou by doplnil extra displej po straně pouzdra. Na tom by se patrně zobrazovaly základní informace adekvátní vybrané položce z nabídky. Podobné řešení známe už ze smartphonů, kdy některé modely od LG používají druhý displej pro zobrazení základních informací a notifikací. Každopádně základní funkčnost lunety by byla zachována, uživatel by tedy i nadále k jednotlivým nabídkám přistupoval jejím otočením.
Zda zůstane pouze u inovací na papíru, nebo se s některými z nich v budoucnu u chytrých hodinek Samsungu skutečně dočkáme, ukáže až čas. Jedno je ovšem z takových vizí zřejmé: jihokorejský výrobce se nehodlá předčasně vzdát myšlenky, že se chytré hodinky jednoho dne stanou stejně masovou záležitostí jako smartphony.






















